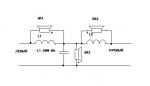
Kuzyma Опубликовано 28 июня, 2003 Жалоба Поделиться Опубликовано 28 июня, 2003 И всё же, из личного опыта... как и обещал :D Все, кто имеют хорошую акустику для компа, а также люди богатые и мнительные далее могут не читать. (хотя, некоторые Sony, B&W, "Epos", Techniks или "Reference" от "KEF" после соответствующих доработок своими руками звучат значительно лучше) Остальным предлагаю прямо сегодня, не откладывая, улучшить звучание своих Creative, Sound****** и т. д. Идея состоит в том, чтобы без особых затрат превратить пару дешёвых активных АС в стереосистему с сабвуфером. Первое, что Вам потребуется, это пластилин, ветошь (Х/б тряпки, а ещё лучше вата), фольгоизол (можно заменить линолеумом без тканевой подкладки), два электролитических конденсатора ёмкостью не менее 2000 мкФ, неполярный конденсатор, ёмкостью 150 – 200 мкФ, эмалированный провод (ПЭЛ, ПЭВ диам. 0,7-1.5 мм), любая колонка с компрессионной головкой в качестве НЧ – звена (сабвуфера) и паяльник с припоем и канифолью. 1.Разбираем акустические системы (АС) и откручиваем динамические головки. Аккуратно, чтобы не повредить диффузор! На стенки АС из фольгоизола, с предварительно снятой фольгой (или линолеума) вырезаем полоски, размером на 5 мм меньшим внутренних стенок и наклеиваем полиуретановым клеем (или 88н, БФ тоже сгодится, хотя им сложнее, можно, также, силиконовым герметиком) По месту прилегания головок к корпусу укладываем полоску из пластилина. Монтируем головки обратно, следя, чтобы не было щелей при установке. 2.Находим на плате усилителя выходные конденсаторы (если таковых нет, и головки подключены напрямую к выходной микросхеме, то этот пункт исключаем) и параллельно им с соблюдением полярности подключаем наши конденсаторы >2200мкФ. 3.Пока сохнет клей :) , наматываем две катушки на подходящий какркас 20х20 мм (можно диаметром 18мм) и длиной 30 мм по 140 витков провода ПЭЛ, ПЭВ. Причём количество витков и диаметр провода можно значительно уменьшить, намотав на сердечниках трансформаторов, скажем, Ш20х16, однако при этом несколько возрастут нелинейные искажения полученных катушек фильтров :) . 4.Собираем всё, заполняя внутренности ватой (ветошью), стараясь расположить её так, чтобы не касалась поверхности диффузора, подключая согласно приведённой схеме. 5.Включаем и наслаждаемся. :lol: 6.В дальнейшем опишу, как выполнить «активный» сабвуфер…, а если кто заинтересуется, то и вышеизложенную процедуру переделки можно выполнить грамотнее… B) Ссылка на комментарий Поделиться на другие сайты Поделиться
plastilin Опубликовано 28 июня, 2003 Жалоба Поделиться Опубликовано 28 июня, 2003 Kuzyma Обязательно попробую. P.S Просто интересно, а кем ты работаешь :D (можешь не говорить) Ссылка на комментарий Поделиться на другие сайты Поделиться
Old Man Опубликовано 28 июня, 2003 Жалоба Поделиться Опубликовано 28 июня, 2003 В дальнейшем опишу, как выполнить «активный» сабвуфер Давай, жду :D . Ссылка на комментарий Поделиться на другие сайты Поделиться
Kuzyma Опубликовано 28 июня, 2003 Автор Жалоба Поделиться Опубликовано 28 июня, 2003 plastilin , Old Man очень рад, что есть единомышленники, желающие своими руками творить. Сам раньше все журналы типа Юный техник, Моделист-Конструктор, Техника молодёжи, Наука и жизнь, Радио (подписка более 20 лет)начинал читать с "конца", т. е. выискивал страничку с самоделками, акустика у меня - скорее хобби с профессиональным уклоном, уж очень люблю, когда качественно..., :D а если ещё и сэкономить можно..., то вообще становится заманчивым. У брата был 965й запорожец, (ага - консервная банка :lol: ), так "звучал" 25 лет назад почти не хуже сегодняшних навороченных фирменных... (приврал, :o конечно, хуже, но очень чисто и громко, с хорошим басом) Вышеизложенную переделку первый раз выполнял лет пять назад, за счёт добавления "басов" и снижения искажений эффект весьма ощутимый получался. Для активного сабвуфера помимо низкочастотной колонки потребуется дополнительный (можно моно) усилитель, который можно спаять самому (как в моём случае Р~70 Вт), либо воспользоваться готовым, можно меньшей мощности, но, желательно Р не менее 10 Вт. При вышеизложенной переделке конденсаторы не добавляются, а напротив, выпаиваются, их ёмкость (в зависимости от типа акустики составляет 470 - 2200 мкФ). Вместо них, с соблюдением полярности! впаиваются на 100 мкФ. Этим мы срежем частоту примерно на уровне 200 Гц. И с выходов усилителей (до оконечного конденсатора!) подключаем цепочку для сабвуфера, состоящую из последовательно соединённых конденсатора, ёмкостью 100мкФ и резистора 1кОм. Переделка, конечно же, в обоих каналах. И, в общем, на схеме должно быть понятно... Преимущество этого способа перед первым - более мощный бас, позволяющий независимое регулирование и лучшее разделение стереоканалов (из-за малой крутизны фильтров первого порядка происходит некоторое проникновение сигналов между каналами). Недостаток - дополнительный усилок... А вообще, вариантов тьма... Будут вопросы - чем смогу..., :) Ссылка на комментарий Поделиться на другие сайты Поделиться
Vel Опубликовано 4 июля, 2003 Жалоба Поделиться Опубликовано 4 июля, 2003 Идея суперовая, хотел новые колонки покупать, а теперь не буду. Спасибо за идею. Правда руки кривые, нужно кого то просить чтобы сделал:D Ссылка на комментарий Поделиться на другие сайты Поделиться
mmap Опубликовано 4 июля, 2003 Жалоба Поделиться Опубликовано 4 июля, 2003 To Kuzyma: Как ты думаешь стоит ли изменять таким способом колонки Creative Inprise 6.1 (8Wx4+20W+22W всё RMS) Я вот подумываю о Creative Cambridge MegaWorks 5.1 (260$)... Так там вообще какие-то цифры огромные... (70Wx5+150W всё RMS). (http://uk.europe.creative.com/products/product.asp?prod=373) 5 сателлитов и сабвуфер... этой мощьностью можно стёкла выбивать...? :D Ссылка на комментарий Поделиться на другие сайты Поделиться
Kuzyma Опубликовано 4 июля, 2003 Автор Жалоба Поделиться Опубликовано 4 июля, 2003 To all: Переделывать корпус желательно в подавляющем большинстве выпускаемых АС. И вот почему. Для воспроизведения широкого спектра частот предъявляются различные, порой противоречивые требования при изготовлении АС. В одном лишь есть абсолютное единство. Корпус АС должен поглощать весь спектр частот, излучаемый тыльной сторо-ной АС, без возникновения вторичных излучений, проявляющихся на резонансных частотах отдельных частей АС (обладать хорошими демпфирующими свойствами). Выштампованные же из пластмассы детали современных АС (имеется в виду недорогие) несут с собой множество посторонних призвуков и отражений сигнала. В результате – искажения, довольно неприятные на слух, причём увеличивающиеся с повышением уровня громкости. Значительно лучше в этом отношении корпуса из ДСП (древесно-стружечной плиты) и МДФ (плиты средней плотности). Однако и у них, если стенка достаточно большая, то, желательно, либо устанавливать рёбра жёсткости и распорки, либо оклеить вибропоглощающим слоем (можно то и другое для лучшего эффекта). To Kolya7k: :lol: Со стёклами будет всё ОК, потому что КПД современных НЧ динамиков составляет доли процента, и мощность никогда не будет «лишней». Просто, чтобы воспроизводить звук с широким динамическим диапазоном (например симфонического оркестра) без ог-раничения пиков выходных сигналов, требуется приличный запас по мощности вплоть до 10-100хPnomin. А переделку в случае имеющихся АС, я бы свёл к: а) обработке внутренних полостей и заполнению их ватой; б) уменьшению ёмкости выходных конденсаторов всех усилителей, кроме сабвуфера(если таковые имеются) до 200 мкФ – для снижения интермодуляционных искажений; в) подключению дополнительных конденсаторов в блоке питания усилителей 15000 мкФ и выше – для снижения фона и расширения динамического диапазона; г) оптимального расположения всех АС, с целью получения наиболее «конкретного» зву-чания. Например Бас пол любит и углы, но иногда там «Бубнит», что тоже плохо… :D Ссылка на комментарий Поделиться на другие сайты Поделиться
Asakra Опубликовано 4 июля, 2003 Жалоба Поделиться Опубликовано 4 июля, 2003 Kuzyma а ты не хотел бы сгрупировть написанное тобой в этом топике в статью и разместить её на сайте moddcom.net ? Ссылка на комментарий Поделиться на другие сайты Поделиться
Kuzyma Опубликовано 5 июля, 2003 Автор Жалоба Поделиться Опубликовано 5 июля, 2003 И ещё, есть способ, чтобы уменьшить неравномерность АЧХ (амплитудно частотной характеристики) СЧ и ВЧ головок, применяемых в недорогих АС. При этом несколько расширяется полоса воспроизводимых частот в сторону высоких. 1. Опять же, извлекается головка (динамик) из корпуса. Осматривается, если диффузор и гофр изготовлен как единое целое – штамповкой из бумажной основы, то такая головка подходит для доработки. Если же гофр – полиуретановый (резиновый), то лучше поставить её на место, не забыв про дополнительное уплотнение посадочного места. 2. Приготовляется раствор касторового масла (продаётся в аптеках) в ацетоне из расчёта 35-40 %. 3. Аккуратно тоненькой кистью наносится на гофр (не на диффузор! :o ). 4. Окна в головке заклеить марлей, и при сборке количество ваты увеличить и расположить её несимметрично относительно головки. Такая доработка снижает неравномерность, в среднем, на 5дб, что ощутимо… :D Ссылка на комментарий Поделиться на другие сайты Поделиться
Kuzyma Опубликовано 18 июля, 2003 Автор Жалоба Поделиться Опубликовано 18 июля, 2003 Приятно... мои схемки с описаниями уже по инету "ходят"... :P А вот ещё интересная ссылка , тут много и известных истин, а некоторое для меня лично - откровение... ;) Ссылка на комментарий Поделиться на другие сайты Поделиться
Asakra Опубликовано 18 июля, 2003 Жалоба Поделиться Опубликовано 18 июля, 2003 Kuzyma а где именно они уже ходят? Ссылка на комментарий Поделиться на другие сайты Поделиться
Kuzyma Опубликовано 4 декабря, 2003 Автор Жалоба Поделиться Опубликовано 4 декабря, 2003 Здесь софт кое-какой... Ссылка на комментарий Поделиться на другие сайты Поделиться
Hlad Опубликовано 5 декабря, 2003 Жалоба Поделиться Опубликовано 5 декабря, 2003 Большое спасибо нет пределам качеству звука Ссылка на комментарий Поделиться на другие сайты Поделиться
Kuzyma Опубликовано 6 февраля, 2004 Автор Жалоба Поделиться Опубликовано 6 февраля, 2004 Справа внизу - очередное совместное с JBL SpeakerShop, Prology и сынишкой на каникулах после сессии - творение - :o 450 Ваттный двухобмоточный саб в стадии настройки перед операцией окончательной отделки. :P Снял специально вместе со столом и компом, чтобы было с чем сравнить более, чем 100 литровый объём корпуса. Жаль, что звучание таким же образом при подводимых 230 Вт не могу продемонстрировать. Сам в восторге... :P Соседи не очень... :lol: Пол-листа 30мм плиты МДФ, собственно головка, два месяца предвкушений и три снежно-метельных вечера в гараже. :( Результат - хочется прослушать всю свою аудиобиблиотеку заново и пересмотреть все фильмы... :P Ссылка на комментарий Поделиться на другие сайты Поделиться
veiK Опубликовано 6 февраля, 2004 Жалоба Поделиться Опубликовано 6 февраля, 2004 Здорово Прикольный ЗВЕРЬ у тебя B) , если бы шарил в схемах и в электрике то можно было бы попробывать и себе такого сварганить, а так придется покупать. :( :( Ссылка на комментарий Поделиться на другие сайты Поделиться
Old Man Опубликовано 6 февраля, 2004 Жалоба Поделиться Опубликовано 6 февраля, 2004 Kuzyma Завидую . Ссылка на комментарий Поделиться на другие сайты Поделиться
Kuzyma Опубликовано 21 июля, 2004 Автор Жалоба Поделиться Опубликовано 21 июля, 2004 Усилитель за час! :o :P Первоначально сей усилитель был смонтирован и установлен в качестве автомобильного. Однако с не меньшим успехом его можно использовать в качестве высококачественного усилителя для пассивных АС или сабвуфера. За основу взята микросхема TDA1557Q ($1.8), позволяющая получить до 22W на канал при напряжении питания 13.2В (автомобильный аккумулятор). Смонтирована на радиатор от старого процессора путём прикручивания на саморезы через теплопасту. остальные детали припаяны навесным монтажом, и после опробования приклеены прозрачным герметиком. Соединения должны быть минимальной длины для уменьшения наводок и вероятности самовозбуждения. Кабель, соединяющий с выходом компьютера – самодельный четырёхжильный экранированный. Экран подпаян к нулевому проводу с обоих концов. Разумеется в домашних условиях нужно питать от сети, к которой подключен и наш компьютер. Здесь можно пойти двумя путями: смастерить самодельный блок питания, либо использовать готовый. Испытав оба, остановился на старом блоке питания от икстишки, многолетневалявшемся в компьютерном хламе (подойдёт любой от компьютера). Теперь он служит верой и правдой, раскачивая через вышеописанный усилитель небольшой саб. :P Рекомендую. Затраченное время с лихвой окупается чистым и прозрачным звучанием. B) Ссылка на комментарий Поделиться на другие сайты Поделиться
Васильевич Опубликовано 21 июля, 2004 Жалоба Поделиться Опубликовано 21 июля, 2004 "В помощь радиолюбителю", №34, кажется... Добавлю из своего личного опыта - оптимальными для дома и семьи, а также работы оказались фазоинвертированные "колонки" объемом 8-9 литров, изготовленные из ДСП 18 мм, головки - 2ГД38Е и 2ГД36, включенные через полосовой фильтр с частотой раздела 5 кГц. 26 лет я неизменно потрясаю знакомых, отдергивая штору и показывая, что именно так звучит. В свое время было очень много публикаций и в вышеназванном сборнике, и в журнале "Радио". Имеющим руки и желающим усладить уши есть смысл перечитать все это. Ссылка на комментарий Поделиться на другие сайты Поделиться
Kuzyma Опубликовано 21 июля, 2004 Автор Жалоба Поделиться Опубликовано 21 июля, 2004 Васильевич "В помощь радиолюбителю", №34, кажется... ? :D , не совсем понял, о чём речь. Вышеописанный усь ваял, не пользуясь журналами... Восьмиомные 2ГД38Е (3ГДШ1-8) - когда-то это было неплохо. Однако с появлением в те времена (конец шестидесятых - семидесятые) 8ГД1, 6ГД2, 6ГД6, 10ГД30, 25ГД26, 30ГД1 и других, вопрос о качестве звука на низших частотах поменял приоритеты. Простые, типа вышеназванного с частотой основного резонанса 100Гц, можно использовать, лишь применяя сдваивание головок, либо утяжеляя массу подвижной системы. О серьёзном же звучании в области низших частот, можно говорить, лишь применяя специальные громкоговорители в рассчитанном под них звуковом оформлении. А 2ГД38Е отправить на службу тыловых колонок. :) И, если Вы добавите сабвуфер (НЧ-звено) к вашим колонкам, и отфильтруете весь диапазон на полосы, то непременно потрясёте знакомых в ещё большей степени. Ведь им и в голову не придёт, что где-то прячется саб... :lol: Ссылка на комментарий Поделиться на другие сайты Поделиться
Васильевич Опубликовано 22 июля, 2004 Жалоба Поделиться Опубликовано 22 июля, 2004 to Kuzyma Это ссылка, где немало подобных советов и схемок. Что касается 8ГД1, 6ГД2, 6ГД6, 10ГД30, 25ГД26, 30ГД1 и других... это все компрессионные головки, для которых, естественно, есть критичный размер ящика и - самое неприятное - критическая мощность, ниже которой "низы" просто не проступают. Для сравнения КПД у 6ГД-6 0,075%, а у 2ГД38 - 1,5%. Несколько лучше 4ГД28Е - 2,2%. Об этом приходится задумываться, если акустика строится для дома и рабочего места. Из литературы известно, что обычная используемая мощность при индивидуальной прослушивании не превышает 0,4 Вт. Конечно, если ваши домашние и работодатели готовы терпеть Брамса на 10-20 ваттах... ;) Но тогда лучше сразу подумать о колонках из мрамора или стекловаты. Вопрос Kuzyma поднял серьезный спору нет, но я к тому, что нужно трезво оценивать сферу применения. Когда-то мне захотелось получить настоящее звучание системы "Кенвуд", а был это 1982 год... Так стоимость девайсов оказалась копеечной, по сравнению с расходами на акустическое оформление жилой комнаты 24 кв. метра ) Ссылка на комментарий Поделиться на другие сайты Поделиться
Kuzyma Опубликовано 22 июля, 2004 Автор Жалоба Поделиться Опубликовано 22 июля, 2004 Что касается 8ГД1, 6ГД2, 6ГД6, 10ГД30, 25ГД26, 30ГД1 и других... это все компрессионные головки, Намеренно не упомянул термин "компрессионные", поскольку первые две таковыми не являются по конструкции, остальные, хотя и могут работать в компрессионных акустических системах, однако далеко не всегда это так. Для сравнения КПД у 6ГД-6 0,075%, а у 2ГД38 - 1,5%. Несколько лучше 4ГД28Е - 2,2%. лучше пользоваться общепринятыми в акустике терминами, например, уровень характеристической чувствительности, который у вышеуказанной 2ГД38Е составляет 90дБ/Вт*м, а у современной НЧ головки, скажем EX-10 (впрочем, как и у 6ГД-2) – 94дБ/Вт*м. :D … самое неприятное - критическая мощность, ниже которой "низы" просто не проступают – непонятная фраза. Из литературы известно, что обычная используемая мощность при индивидуальной прослушивании не превышает 0,4 Вт. Конечно, если ваши домашние и работодатели готовы терпеть Брамса на 10-20 ваттах... Но тогда лучше сразу подумать о колонках из мрамора или стекловаты. – несколько устаревшее понятие. Современные магнитные сплавы и конструкции позволяют изготавливать значительно более чувствительные головки. Причём и сотни ватт в мрамор никто не упрятывает – есть ДСП и МДФ. Создавая запас по мощности и прочности – не означает, что именно на этом уровне и нужно прослушивать. Благодаря цифровым носителям (и не только B) ), динамический диапазон муз. произведений зачастую составляет более сотни дБ, а с этим справится лишь усь и АС, имеющие определённый, обычно многократный :o запас по мощности. Иначе – неминуемы искажения из за ограничения пиковых уровней. И вместо литавр и бигбаса Вы услышите (если услышите, поскольку обозвали колонки на базе 2ГД38Е - оптимальными для дома и семьи) хрип. Рекомендую подключить генератор синусоидального сигнала (или воспользоваться соответствующими программами для компьютера) и прослушать весь низкочастотный диапазон. Уверяю Вас, ниже 80Гц из сотворённых Вами фазоинверторов в комнате 24кв.метра Вы услышите лишь высшие гармоники, а для Hi-Fi желательно около 30Гц с достаточным звуковым давлением. B) нужно трезво оценивать сферу применения. Ну с этим у меня строго, поскольку вообще не потребляю… :lol: Ссылка на комментарий Поделиться на другие сайты Поделиться
Тролль Опубликовано 22 июля, 2004 Жалоба Поделиться Опубликовано 22 июля, 2004 Kuzyma Приятная схема ;) . Но можно вопросик? Экран подпаян к нулевому проводу с обоих концов. Из каких соображений? Насколько я знаю, экран для лучшей защиты от наводок не должен служить обратным (нулевым) сигнальным проводом, посему его обычно рекомендуется подпаивать к нулевому проводу только с одного конца, а второй оставлять свободным. Вот если бы нулевого провода не было, пришлось бы вместо него использовать экран... Ссылка на комментарий Поделиться на другие сайты Поделиться
Васильевич Опубликовано 22 июля, 2004 Жалоба Поделиться Опубликовано 22 июля, 2004 to Kuzyma Вы абсолютно правы - грешу старыми определениями, поскольку за время моей работы трижды менялись стандарты и нормативы, и не только в акустике. Посыпая голову пеплом, признаюсь - я до сих пор говорю "сопротивление" вместо резистор... Простите великодушно за то, что вставил свои два слова о суммарной акустической добротности. А как врач, хочу Вас разочаровать - носитель может нести данные и о 5 герцах. Что толку, если я (да и Вы, если верить Вашему профилю) 20 Гц уже не услышите... При самых идеальных колонках. Возможно, Вас задело то, что я изъяснялся жаргоном, привычным для моего времени "самодельщиков". Но мне казалось, мы тут для того, чтобы делиться опытом, а не терминологией очередного Межгосударственного Стандарта. Больше не мешаю, с наилучшими пожеланиями. Ссылка на комментарий Поделиться на другие сайты Поделиться
Костик Опубликовано 23 июля, 2004 Жалоба Поделиться Опубликовано 23 июля, 2004 Васильевич 5гц, конечно, не услышать, но всё же почувствовать то можно... Kuzyma Когда Васильевич упоминал "критическую мощьность" возможно он имел ввиду порог звукового давления ниже которого дг не выдаёт штатных частот. Ссылка на комментарий Поделиться на другие сайты Поделиться
kvazimoda Опубликовано 23 июля, 2004 Жалоба Поделиться Опубликовано 23 июля, 2004 Извеняюсь за вторжение, но мне просто интересно мнение специалистов или близких к этому званию людей :D У меня такая аккустическая система: Вообще она четырех канальная, а выглядит так: Перед (или фронт) Две колонки Электроника 35АС-130 через усилитель Электроника 50У-017С Зад :D (т.е. тыл) устройство под названием Simfonija модель 003 стерео ;), с родными колонками. Все это работает через звуковуху SB Audigy 2 ZS Что скажите по этой системе, как она нормальная или поршивенькая? ;) Что стоит доработать? Вобщем интересны все мнения Ссылка на комментарий Поделиться на другие сайты Поделиться
Рекомендуемые сообщения