THE OLD VERMIN Опубликовано 14 июня, 2015 Жалоба Поделиться Опубликовано 14 июня, 2015 Вот схема. Работоспособна ли будет такая конструкция? Глубина пласта 4-10 метров. Поршень представляет из себя металлическую пластину с отверстиями, перекрываемыми резиновой манжетой, при подъеме вверх. На нижнем входе стоит вполне промышленный клапан, остальное из подручных средств. Единственно, что настораживает - движение шатуна будут не совсем прямолинейно-поступательным, но сейчас меня больше интересует конструкция поршня, потом пойдут остальные детали. Какие будут мнения? Инструменты: сварочный инвертор, дрель, болгарка. Токарного станка нет, поэтому отталкиваемся пока от этого набора. Ссылка на комментарий Поделиться на другие сайты Поделиться
sar_64 Опубликовано 14 июня, 2015 Жалоба Поделиться Опубликовано 14 июня, 2015 (изменено) Сможет ли поршень в цилиндре создавать разряжение для подъема воды до уровня поршня? Хотя, если цилиндр предварительно заполнить водой, то может сработать. Изменено 14 июня, 2015 пользователем sar_64 Ссылка на комментарий Поделиться на другие сайты Поделиться
Teddy_Bear Опубликовано 14 июня, 2015 Жалоба Поделиться Опубликовано 14 июня, 2015 (изменено) В зависимости от качества исполнения (в особенности поршня) глубина работы будет 5-7 метров. Кстати, если использовать длинный шток, (глубинное расположение поршня) то можно добиться большей глубины работы. Кстати, нижний клапан вовсе не обязательно помещать вглубь. Верхнее расположение в смысле гидравлики не хуже, но имеет преимущество лёгкого удаления и меньшего появления засоров. По окончании работы поднятый песок будет оседать в трубе и засорять клапан. Изменено 14 июня, 2015 пользователем Teddy_Bear Ссылка на комментарий Поделиться на другие сайты Поделиться
Yezhishe Опубликовано 14 июня, 2015 Жалоба Поделиться Опубликовано 14 июня, 2015 IMHO, основной тут вопрос - герметизация поршня. Если будет подсасывать воздух... Полагаю, для исключения негативного влияния непрямолинейного движения шатуна - надобно над поршнем сотворить подобную же конструкцию, и уже к ней крепить шатун. Тогда получившийся блок будет двигаться без перекосов. Ссылка на комментарий Поделиться на другие сайты Поделиться
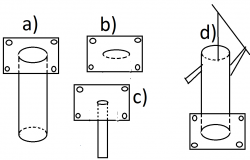
THE OLD VERMIN Опубликовано 15 июня, 2015 Автор Жалоба Поделиться Опубликовано 15 июня, 2015 Верхнее расположение в смысле гидравлики не хуже, но имеет преимущество лёгкого удаления и меньшего появления засоров. Как реализовать сие технически? А если вот так? a) основная труба скважины Ǿ150 с приваренной опорной пластиной b) резиновая прокладка с прорезанным полуотверстием, выполняющая роль клапана толщиной 4-6 mm с) еще одна пластина с приваренной погружной трубой Ǿ32-50 mm в) колонка Собирается болтами. Клапан надо доработать... Советы. ups позиция d) нарисована с ошибками, я ее тупо перевернул из позиции а), сорри... Ссылка на комментарий Поделиться на другие сайты Поделиться
kvazimoda Опубликовано 15 июня, 2015 Жалоба Поделиться Опубликовано 15 июня, 2015 @THE OLD VERMIN, давай так, давай сначала определимся с глубиной. Если глубина четыре метра, то можно насос поставить на поверхности и он воду поднимет как медицинский шприц всасывает лекарство. Если же глубина десять метров, то с поверхности ты уже ничем не поднимешь воду - атмосферного давления не хватит. В этом случае насос надо будет опускать ближе к воде. Как реализовать сие технически? @Teddy_Bear имеет ввиду поставить клапан не в самый них трубы, в сразу перед насосом. Работать всё это будет, вопрос с какой глубины поднимет. Чтобы поршень не перекашивало, я бы его сделал не в форме пластины, а в форме цилиндра. Т.е. надо невысокий отрезок трубы подходящего диаметра, этакое кольцо, с одной из сторон приварить круглую пластину, на ней сделать пару отверстий и закрыть их резиновыми клапанами. По контуру поршня тоже какое-нибудь уплотнение. Хотя, я тут подумал, можно сделать и без клапанов в поршне. Поршень в этом случае надо поднять выше излива, а на излив поставить обратный клапан. Чтобы шток толкал ровно поршень, надо сделать два подвижных соединения, а не одно. Везде, где я видел, рисуют подвижное соединение шток-рычаг, а надо ещё сделать подвижным соединение шток-поршень. Ссылка на комментарий Поделиться на другие сайты Поделиться
Teddy_Bear Опубликовано 15 июня, 2015 Жалоба Поделиться Опубликовано 15 июня, 2015 (изменено) Так сейчас погуглил "ручной насос для скважины" - полно схем с чертежами. В чём проблема или особенность? Может уже есть готовая часть и надо к ней добавить устройство? И да - для большей эффективности лучше весь насос с длиннющим штоком погрузить вниз, к водоносному слою. Если клапана и сам насос сверху, то требования к клапанам уже по воздуху, а не по воде, что труднее исполнить. Кстати, нашёл схему не со штоком, а с тросом и утяжелением внизу. Изменено 15 июня, 2015 пользователем Teddy_Bear Ссылка на комментарий Поделиться на другие сайты Поделиться
kvazimoda Опубликовано 15 июня, 2015 Жалоба Поделиться Опубликовано 15 июня, 2015 И да - для большей эффективности лучше весь насос с длиннющим штоком погрузить вниз, к водоносному слою. Если клапана и сам насос сверху, то требования к клапанам уже по воздуху, а не по воде, что труднее исполнить. В крайнем случае, можно наполнять систему водой перед тем, как качать воду, но тогда нужен клапан внизу у воды. Где-то подобную систему видел... Ссылка на комментарий Поделиться на другие сайты Поделиться
Teddy_Bear Опубликовано 15 июня, 2015 Жалоба Поделиться Опубликовано 15 июня, 2015 А если приделать ветряк к этому насосу, тогда вместо проклятий по поводу ещё одной повинности будете слышать благодарности и скрип колеса :) Ссылка на комментарий Поделиться на другие сайты Поделиться
Valery Опубликовано 15 июня, 2015 Жалоба Поделиться Опубликовано 15 июня, 2015 (изменено) Ветряк только понадобится диаметром так метров пять. :) У нас такой, или подобный насос был, только лет ннадцать прошло с тех пор как его сперли, поскольку был из нержавейки. насколько я помню, там внизу клапана не было (PS: Имеется в виду в глубине), клапан был в самом поршне, примерно что-то вроде такого: Реально, лет двадцать назад это было, да и разбирал я его всего один раз, так что мог что-то и упустить. В каком именно месте должен быть слив не помню. Логика вроде бы такая: При движении штока вверх, вода находящаяся над поршнем вытекает через слив, и одновременно заполняется пространство под поршнем. При движении вниз, вода снизу поршня перетекает вверх. При хороших резинках заливать воду не требовалось, достаточно было пару-тройку раз сильно качнуть. Вода текла при движении и вверх, и вниз, но за счет чего - не помню, может еще что было. Ну как-то так, короче, насколько запомнилось Изменено 15 июня, 2015 пользователем Valery Ссылка на комментарий Поделиться на другие сайты Поделиться
Teddy_Bear Опубликовано 15 июня, 2015 Жалоба Поделиться Опубликовано 15 июня, 2015 (изменено) Садовод без емкости? Всё ясно - собрались городские мудрецы. Неужто собрались поливать огород ледяной водой прямо из скважины? Это только водку хорошо охлаждать, а растения любят тёплую водичку под вечер :) Даже электрический погружной насос закачивает ёмкости для полива огорода часа два. А вы хотите вручную упражняться? Ну-ну. Ветряка хватит метра три. Не вертолёт строим и не Голландию осушаем. В Нидерландах столетия назад уже ветряки целое государство подняли со дна морского, а тут всего лишь садовый участок. Основная проблема - сильный ветер. Надо, чтобы или лопасти складывались, или сам ветряк уклонялся от ветра или стоппер был. Для лучшей герметизации клапана поршня хорошо использовать силиконовый герметик по фейри (чтоб не прилип к металлу). Отверстия в поршне делать как можно больше, типа барашка вентиля. Изменено 15 июня, 2015 пользователем Teddy_Bear Ссылка на комментарий Поделиться на другие сайты Поделиться
kvazimoda Опубликовано 15 июня, 2015 Жалоба Поделиться Опубликовано 15 июня, 2015 Я одного не понимаю, разве @THE OLD VERMIN что-то говорил про полив? Человеку явно нужно ведро воды для приготовить и помыться накачать, нахрена ветряки городить? Проще уж насосную станцию приобрести. Ссылка на комментарий Поделиться на другие сайты Поделиться
Teddy_Bear Опубликовано 15 июня, 2015 Жалоба Поделиться Опубликовано 15 июня, 2015 (изменено) Я так понимаю, с электричеством напряженка. Бурить скважину для ведра воды? Скважина минимум тысяч 20 стоит. Проще привозить бутилированную воду. Изменено 15 июня, 2015 пользователем Teddy_Bear Ссылка на комментарий Поделиться на другие сайты Поделиться
THE OLD VERMIN Опубликовано 15 июня, 2015 Автор Жалоба Поделиться Опубликовано 15 июня, 2015 Привет! Уж не знаю, с кого начать отвечать... В общем, скважина пробурена у родственника, в 200 м от дома. Участок 1 сотка - 2 теплички, которые надо иногда поливать. Таки да, пробурил скважину 20 м, вода лежит уже в 3. Забита труба 150. Не спеша, думаю, пару бочек за вечер накачает. Сейчас он тянет времянку из дома, набирает 3 бочки воды и сматывает провода обратно. Потому и хочем попробовать собрать что-то на коленке из подручных средств. А подручных средств только трубы да железный хлам. Делать насос прямо в трубе не получится, безобразный шов внутри. Ссылка на комментарий Поделиться на другие сайты Поделиться
Valery Опубликовано 15 июня, 2015 Жалоба Поделиться Опубликовано 15 июня, 2015 А воду гнать на 200 метров по шлангам? (Далековато носить ведрами). Боюсь у такого и подобных насосов не хватит для этого давления, особенно если местность в гору, или на пути есть бугор. ИМХО самый лучший вариант, - погружной насос. Еще есть насосы с бензиновым мотором, т.н. мотопомпы, это тоже вариант, у нас сосед по даче так воду качает из ближайшего пруда. Вот например что-то типа такого: http://www.elind.ru/motopompa/proizvoditeli/champion/gp26-ii/ Ну или вот: https://www.google.ru/search?newwindow=1&hl=ru&site=imghp&tbm=isch&source=hp&biw=1920&bih=954&q=%D0%BC%D0%BE%D1%82%D0%BE%D0%BF%D0%BE%D0%BC%D0%BF%D0%B0+%D0%B1%D0%B5%D0%BD%D0%B7%D0%B8%D0%BD%D0%BE%D0%B2%D0%B0%D1%8F&oq=%D0%B1%D0%B5%D0%BD%D0%B7%D0%B8%D0%BD%D0%BE%D0%B2%D0%B0%D1%8F+%D0%BC%D0%BE%D1%82%D0%BE%D0%BF&gs_l=img.1.0.0i8i30j0i24l9.1557.5980.0.7861.16.13.0.3.3.0.102.1231.12j1.13.0....0...1ac.1.64.img..0.16.1249.AIXqSTfCZqI Всасывающую трубу в скважину, напорную до дома, дерг за шнур и понеслось. :) Если честно, я бы так и поступил. Ссылка на комментарий Поделиться на другие сайты Поделиться
Teddy_Bear Опубликовано 15 июня, 2015 Жалоба Поделиться Опубликовано 15 июня, 2015 Если 3 м - выкопать колодец на огороде. Или пробурить новую скважину. Не годится, если огромный перепад высот и глубина слоя много больше. P.S. Ну что вы за люди? И полив есть и бурение и диаметр 3 метра водоподъемного ветряка дает воду на целую ферму. Ссылка на комментарий Поделиться на другие сайты Поделиться
Gesha45 Опубликовано 16 июня, 2015 Жалоба Поделиться Опубликовано 16 июня, 2015 (изменено) Ну что вы за люди? И полив есть и бурение и диаметр 3 метра водоподъемного ветряка дает воду на целую ферму. Действительно есть всё, кроме доступного проекта и сметы, которые не мешало бы предоставить.Не помешало бы и прикинуть рентабельность. А так это просто словоблудие. Изменено 16 июня, 2015 пользователем Gesha45 Ссылка на комментарий Поделиться на другие сайты Поделиться
Teddy_Bear Опубликовано 16 июня, 2015 Жалоба Поделиться Опубликовано 16 июня, 2015 На одну сотку - предложение снимается. Девать воду некуда будет. Я предполагал стандартные советские 6 соток. Ссылка на комментарий Поделиться на другие сайты Поделиться
THE OLD VERMIN Опубликовано 16 июня, 2015 Автор Жалоба Поделиться Опубликовано 16 июня, 2015 Вот потому-то и кажутся нерентабельными все предложения. Я у себя просто выкопал вольвой яму и поставил 6-метровую стеклотекстолитовую трубу d600. Пять лет уж пользуюсь, отказался от казенной воды вообще, правда ле****ричество у меня тут же... В общем, попробую соорудить на досуге что задумал, если не будет работать, купим заводской какой-то. Ссылка на комментарий Поделиться на другие сайты Поделиться
Teddy_Bear Опубликовано 16 июня, 2015 Жалоба Поделиться Опубликовано 16 июня, 2015 За 200 метров от своего участка всё будет ерундой, кроме колодца. Только свой источник. Это не техническая проблема. Торжество частной собственности. Ссылка на комментарий Поделиться на другие сайты Поделиться
liliy Опубликовано 20 июня, 2015 Жалоба Поделиться Опубликовано 20 июня, 2015 (изменено) Привет! Уж не знаю, с кого начать отвечать... В общем, скважина пробурена у родственника, в 200 м от дома. Участок 1 сотка - 2 теплички, которые надо иногда поливать. Таки да, пробурил скважину 20 м, вода лежит уже в 3. Забита труба 150. Не спеша, думаю, пару бочек за вечер накачает. Сейчас он тянет времянку из дома, набирает 3 бочки воды и сматывает провода обратно. Потому и хочем попробовать собрать что-то на коленке из подручных средств. А подручных средств только трубы да железный хлам. Делать насос прямо в трубе не получится, безобразный шов внутри. ! Предупреждение: Флуд. Изменено 20 июня, 2015 пользователем Yezhishe Ссылка на комментарий Поделиться на другие сайты Поделиться
Gesha45 Опубликовано 4 июля, 2015 Жалоба Поделиться Опубликовано 4 июля, 2015 Только сейчас обратил внимание. А почему флуд? В сообщении только цитата с выделенным не совсем правильным словом. Хотя модератор, причём супер, как хотит так и пишет. :) Ссылка на комментарий Поделиться на другие сайты Поделиться
Skif Опубликовано 4 июля, 2015 Жалоба Поделиться Опубликовано 4 июля, 2015 А почему флуд? Вполне подпадает под определение флуда: сообщение ни несущее тематической ценности с элементом троллинга. Как, впрочем, и посты #22 и #23. Целесообразно удалить. Я так думаю. Ссылка на комментарий Поделиться на другие сайты Поделиться
Рекомендуемые сообщения
Для публикации сообщений создайте учётную запись или авторизуйтесь
Вы должны быть пользователем, чтобы оставить комментарий
Создать учетную запись
Зарегистрируйте новую учётную запись в нашем сообществе. Это очень просто!
Регистрация нового пользователяВойти
Уже есть аккаунт? Войти в систему.
Войти